在喷墨打印机领域,惠普是为数不多的横跨从个人级到企业级的产品线,如此多的产品,如此大体量的用户基数,那么墨盒用完了怎么办?很多人想到的是找个加墨教程。这里我们教大家惠普打印机墨盒如何加墨水。
惠普打印机墨盒如何加墨水:墨盒
惠普的打印机过去都是墨盒式产品,无论是一体式墨盒还是分体式墨盒,其内部结构基本相同,但如果你仅仅将墨盒看做是一个墨水的载体,那就大错特错了。一个简单的墨盒大致结构为:透气孔、墨仓(海绵载体、非海绵载体)、滤网、出墨孔、计数/防伪芯片等,一体式墨盒还会有打印头单元。如果是用户自己手动加墨会遇到三大难关。

惠普打印机墨盒如何加墨水:墨盒上有计数芯片
加墨水第一关计数芯片:在最开始没有芯片的时代,只要揭开墨盒顶部的塑料封标,就可以用针头注入墨水。现在其实也能注入墨水,但是用不了了:惠普的所有墨盒、硒鼓上都有计数器,尤其是墨盒计数器,可以统计墨滴数量,计数结束芯片记录墨盒为报废状态。

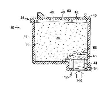
惠普打印机墨盒如何加墨水:墨盒内结构示意图
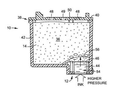
加墨水第二关墨盒内气压平衡:即便你绕开了计数芯片的桎梏。但是总的来说,喷墨打印机使用的墨盒内有一个气压平衡的概念,这主要是源于透气孔是按照打印头最大打印速度设计的,但即便按每个喷头5微微升的墨滴来计算,也远低于用户的注墨量,当墨盒内气压过高会导致严重的漏墨现象出现,让墨水搞的打印机里到处都是,情况轻的需要清理,污染电路板直接报废的也很多。

惠普打印机墨盒如何加墨水:墨盒内滤网阻碍大颗粒物质
加墨水第三关墨水滤网:无论墨水盒内的墨仓采用海绵载体还是非海绵载体,其内部都有墨水滤网结构,主要是为防止大颗粒墨水堵塞打印头所设计,但用户能购买到的墨水质量参差不齐,且无法确定与原墨盒内墨水不产生反应形成大颗粒物质,很容易造成滤网堵塞或打印头堵塞的问题,影响用户的使用。
惠普打印机墨盒如何加墨水:原厂连供
为满足用户大印量低成本的打印需求,惠普发布了多款原厂连供式喷墨打印产品,惠普直接把这些产品称之为连供系列产品。我们建议平时印量较大又想获得低廉单张打印成本的用户不要再想着怎么去为墨盒加墨,可以直接升级换代成为大墨仓产品,现在惠普的连供产品经过多代发展,有了很多进步。

魔术密封瓶 不脏手的秘密

竖直插入 不需挤压自动注墨 注意颜色一一对应
为易于用户进行加墨操作,惠普进行了多重优化设计。首先是墨水瓶的瓶口有讲究,即使拧下盖子,把瓶子倒过来也不会漏出墨水。必须要把盖子打开,对准了压入加墨嘴,才会顶开防漏的密封,这种设计做到了不脏手。各颜色墨水瓶瓶口与注墨位置一一对应,防止了用户加错颜色的可能。

黑白打印仅需1分钱
惠普喷墨打印机虽好,用户需要根据自身需求选购合适的打印产品,传统的墨盒式产品我们不建议自己加墨,而惠普原厂连供系列打印产品由于墨量充足印量极大,用户加墨的频率仅为一年左右。给惠普打印机加墨的目的是什么?无非就是是想降低单张打印成本,那么惠普原厂连供系列产品已经从本质上解决了这个问题,时至今日我们已经没有了自己“加墨”的必要。